

|
|
![]() |
|
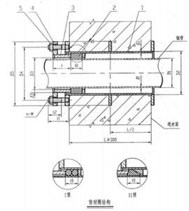
1、当迎水面为腐蚀性介质时,可采用封堵材料将缝隙封堵,做法如下 柔性防水套管(A)型安装图,柔性防水套管(B)型安装图
2.防水套管穿墙处如遇非混凝土墙壁时,应局部改用混凝土墙壁,其浇注范围应比翼环直径(DS)大200,并且必须将套管一次浇固与墙内,
3.穿管处混凝土墙厚应不小于300,否则应使墙壁一边加厚或两边加厚。加厚部分的直径至少为D5+200.
4.防水套管的重量以L=300计算,如墙厚大于300时,应另行计算。
联系电话:13803458726

[2019-9-4]
[2019-9-4]
[2019-9-4]
[2019-9-4]
[2019-9-4]
[2019-9-1]
[2019-9-1]
[2019-9-1]
[2019-9-1]
[2019-9-1]
[2019-9-1]
[2019-4-30]
晋公网安备 14019902000100号

微信公众平台

商业联盟号